Un nouveau Sony a fait surface qui décrit un système pour donner aux joueurs des astuces et des conseils pour jouer plus facilement à des jeux. Selon le nouveau brevet, un système de guidage de jeu vidéo fournira des conseils stratégiques aux utilisateurs ayant des difficultés pendant le jeu. Les utilisateurs de PlayStation activeront vocalement les conseils de Sony.
Le nouveau brevet semble être activé par la voix. La commande vocale d’un joueur accède à une « base de données d’objectifs de jeu » et renvoie un guide pour l’aider lors d’un défi.
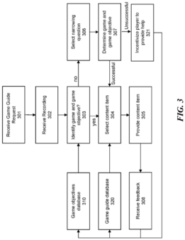
Le système de guidage de jeu vidéo offrirait à la fois des demandes d’assistance générales et des conseils détaillés pour atteindre certains objectifs de jeu. Le brevet couvre également quelques indices que le logiciel pourrait identifier.
(Ceci est) Un système pour fournir un contenu de guidage de jeu simulé par ordinateur, comprenant une base de données de guide de jeu, une base de données d’objectifs de jeu, un connecteur réseau configuré pour communiquer avec une pluralité de dispositifs utilisateur sur un réseau, et un circuit de commande.

D’un autre côté, ce n’est pas la seule fonctionnalité que Sony souhaite offrir aux joueurs. Une méthode pour « connecter un joueur à un support expert en temps réel pendant le gameplay d’un jeu » est décrite dans le brevet déposé l’an dernier.
Essentiellement, la technologie permettra à un joueur expérimenté de soutenir un autre joueur en difficulté dans le jeu. Selon Sony, cela est dû à la complexité croissante des jeux vidéo, ce qui donne aux joueurs plus de défis.
Il est important de noter que les grandes entreprises technologiques marquent fréquemment ces fonctionnalités, il est donc tout à fait concevable que cela ne devienne jamais une réalité. Mais il pourrait y avoir plus de choses ici que ce qui apparaît, étant donné la stratégie actuelle de Sony et l’accent mis sur l’accessibilité des jeux.


